Secure Fastening Hexagonal bolt packaging သည် ၎င်းတို့ကို စနစ်တကျထားရှိရန်နှင့် ပျက်စီးခြင်းမှကာကွယ်ရန် ဒီဇိုင်းထုတ်ထားသည်။ ဤထုပ်ပိုးမှုသေတ္တာများတွင် အပေါက်များတပ်ဆင်ထားသည့် ပျော့ပျောင်းသောအဖုံးများပါရှိသည်။ မူလီများသည် ၎င်းတို့ခေါင်းချင်းဆိုင်တွင် ထိုင်နေသောကြောင့် hex bolt တစ်ခုစီကို ဆက်လက်ထားရှိပါ။ ၎င်းသည် ၎င်းတို့ကို အမြန်ရွေးချယ်ရန်နှင့် နေရာချထားရန် နှင့် ပို့ဆောင်မှုတွင် ခြစ်ရာများကို တားဆီးပေးသည်။ အမြောက်အများသယ်ယူရာတွင်၊ ဆဋ္ဌဂံပုံသေတ္တာများကို တစ်အိတ်လျှင် 500 ကျပ်ဖြင့်ထုပ်ပိုးလေ့ရှိသည်။ ထို့နောက် အဆိုပါအိတ်များကို အတွင်းပိုင်းသေတ္တာများနှင့် ခံနိုင်အားတည်ငြိမ်စေရန် သစ်သားအိတ်များအတွင်း ထည့်ထားသည်။ အရေးပါသောစက်မှုလုပ်ငန်းများအတွက်၊ အရည်အသွေးမြင့် ထုပ်ပိုးမှုရွေးချယ်မှုများသည် တင်းကျပ်သော စစ်ဘက်ဆိုင်ရာစံနှုန်းများနှင့် ပြည့်မီနိုင်ပါသည်။ ၎င်းတွင် အလုံပိတ်၊ အဆီပြန်ခြင်း နှင့် ရေစိုခံအိတ်များ သိုလှောင်မှုနှင့် ပို့ဆောင်စဉ်အတွင်း bolt များကို သံချေးတက်ခြင်းမှ ကာကွယ်ပေးသည့် အိတ်များ ပါဝင်သည်။
hex bolt ပေါ်ရှိ အဆင့်သည် ၎င်း၏ ခွန်အားကို ပြသသည်။ အလွယ်တကူ ခွဲခြားသိရှိနိုင်စေရန်အတွက် ဤအဆင့်အမှတ်အသားများသည် ဘော့ခေါင်းများပေါ်တွင် ရှိပါသည်။ အသုံးများသော ISO အဆင့်များတွင် 4.6၊ 8.8၊ 10.9၊ နှင့် 12.9။Grade 8.8 သည် အများအားဖြင့် အလယ်အလတ် အားကောင်းသည့် bolt ဖြစ်ပြီး 10.9 နှင့် 12.9 တို့သည် စွမ်းအားမြင့်ပြီး ကားများနှင့် ဆောက်လုပ်ရေးကဲ့သို့သော လိုအပ်ချက်ရှိသော နေရာများတွင် အသုံးပြုကြသည်။ A307 နှင့် A325 ကဲ့သို့သော ASTM စံနှုန်းများသည် bolt စွမ်းဆောင်ရည်ကို သတ်မှတ်ပါသည်။ လုံလုံခြုံခြုံ ချိတ်ထားသည့် ဆဋ္ဌဂံတံကို ရွေးချယ်ခြင်းသည် မှန်ကန်သော အတန်းအစားဖြစ်ပြီး bolt သည် ဝန်ကိုမပျက်ကွက်ဘဲ ကိုင်တွယ်နိုင်ကြောင်း သေချာစေသောကြောင့် လုံခြုံရေးအတွက် သော့ချက်ဖြစ်သည်။
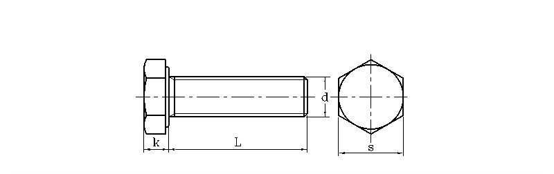
| မီလီမီတာ | |||||||
| d | S | k | d | ချည် | |||
| အများဆုံး | မိ | အများဆုံး | မိ | အများဆုံး | မိ | ||
| M3 | 5.32 | 5.5 | 1.87 | 2.12 | 2.87 | 2.98 | 0.5 |
| M4 | 6.78 | 7 | 2.67 | 2.92 | 3.83 | 3.98 | 0.7 |
| M5 | 7.78 | 8 | 3.35 | 3.65 | 4.82 | 4.97 | 0.8 |
| M6 | 9.78 | 10 | 3.85 | 4.14 | 5.79 | 5.97 | 1 |
| M8 | 12.73 | 13 | 5.15 | 5.45 | 7.76 | 7.97 | 1.25 |
| M10 | 15.73 | 16 | 6.22 | 6.58 | 9.73 | 9.96 | 1.5 |
| M12 | 17.73 | 18 | 7.32 | 7.68 | 11.7 | 11.96 | 1.75 |
| M14 | 20.67 | 21 | 8.62 | 8.98 | 13.68 | 13.96 | 2 |
| M16 | 23.67 | 24 | 9.82 | 10.18 | 15.68 | 15.96 | 2 |
| M18 | 26.67 | 27 | 11.28 | 11.7 | 17.62 | 17.95 | 2.5 |
| M20 | 29.67 | 30 | 12.28 | 12.71 | 19.62 | 19.95 | 2.5 |
သင်၏ Secure Fastening Hexagonal bolts အတွက် ရုပ်ထွက်မိတ်ကပ်နှင့် သံချေးတက်ခြင်း ကာကွယ်ရေး ရွေးချယ်မှုများကို ရှင်းပြနိုင်ပါသလား။
ကျွန်ုပ်တို့သည် ကျွန်ုပ်တို့၏ hex bolts များကို ကာဗွန်နည်းသော သံမဏိ၊ ပိုအားကောင်းသော အလွိုင်းသံမဏိနှင့် stainless steel (A2-304 နှင့် A4-316) ကဲ့သို့သော မတူညီသောပစ္စည်းများဖြင့် ထုတ်လုပ်ပါသည်။ သံချေးတက်ခြင်းမှ ကာကွယ်ရန်အတွက်၊ ကျွန်ုပ်တို့သည် လျှပ်စစ်သွပ်ရည်သွပ်ရည်၊ hot-dip galvanizing နှင့် Dacromet ကဲ့သို့သော အပေါ်ယံပစ္စည်းများကို ပေးဆောင်ထားပါသည်။ မှန်ကန်သော coating ကိုရွေးချယ်ခြင်းသည် bolt မည်မျှကြာရှည်ခံရန်အရေးကြီးသည်၊ အထူးသဖြင့် ဆောက်လုပ်ရေးလုပ်ငန်းခွင်များ သို့မဟုတ် ပင်လယ်အနီးရှိ ခက်ခဲသောနေရာများတွင်ဖြစ်သည်။
